{"product":{"productId":"agid.22814","price":0.92,"name":"Arandelas de apoyo"},"currency":"EUR"}
Material
Acero.
Acero inoxidable 1.4305.
Versión
Acero bruñido.
Acero inoxidable con acabado natural.
Acero inoxidable con acabado natural.
Mostrar más
Mostrar menos
Descripción
Material
Acero.
Acero inoxidable 1.4305.
Versión
Acero bruñido.
Acero inoxidable con acabado natural.
Acero inoxidable con acabado natural.
Indicación
Junto con un tornillo avellanado DIN EN ISO 2009 o DIN EN ISO 10642, las arandelas de apoyo se colocan en la superficie frontal de los extremos del árbol para la fijación axial y el aseguramiento de volantes y manivelas con chavetero.
Las arandelas de apoyo se pueden utilizar en los volantes K0671, K0160, K0161, K0162, K0163, K0164, K0165.
Las arandelas de apoyo se pueden utilizar en los volantes K0671, K0160, K0161, K0162, K0163, K0164, K0165.
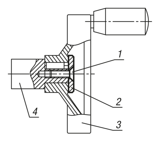
Indicación sobre el dibujo
D3 = para tornillo avellanado ISO 2009 e ISO 10642
1) Tornillo avellanado ISO 2009 e ISO 10642
2) Arandela de presentación
3) Volante
4) Árbol
1) Tornillo avellanado ISO 2009 e ISO 10642
2) Arandela de presentación
3) Volante
4) Árbol
Indicación importante para descargar los modelos de CAD
Para poder descargarse nuestros modelos de CAD, deberá iniciar sesión previamente. Si aún no dispone de una cuenta, regístrese en el apartado "Mi cuenta" (lado derecho de la pantalla) y siga las instrucciones.